

OUR BRAND
密封式全位置管管焊槍
高穩(wěn)定性、高晢載率、薄壁管工程安裝專家管焊機頭適用于薄壁管管焊接定位精準,焊縫成型佳
該焊槍是為各種管件對接而設計的全位置自動鎢極気弧焊(不加焊絲)的專用焊槍,焊接前在密封腔內充保護氣體,保證焊縫得到良好的保護。并按喜戶要求定制管徑范圍內的復式夾具,該夾具系統(tǒng)可保證被焊件精確定位,無需定位點焊,從而為客戶提供高效率、高質量的專用焊槍。本機可與 orbital200、 orbital2000、 orbital3600、 orbital5000程控焊接電源配套使用,可精密實現全位置TG管/管焊接,焊接結県重現性高,可達到
理想的焊接效果。主要應用于電子、儀表、制藥、工程安裝、軍工和核電等行業(yè)
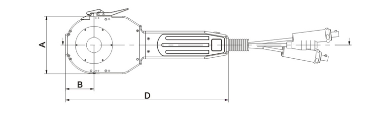
焊槍主要部分用鋁制,結構輕巧乘用了密封式設計,保護效果更加充分專利技術的柔性自動定心夾具,精確定位;
適用海壁碳鋼、不銹鋼、鈦及鈦合金材質的管道焊接自焠焊接方式;
焊槍上配眢操作按鈕,焊槍使用輕便,適合現場安裝
技術參數

